广东悦来香qm论坛最新地址,栖凤楼品茶app,外围接单app,楼凤阁栖凤楼信息论坛

MC6 机械型多轴力传感器

MC6 机械型多轴力传感器

AMTI MC6 机械型多轴力传感器,迟滞性 Fx, Fy, Fz:±0.2 % F.S.,重量:5.91kg,非线性 Fx, Fy, Fz:±0.2 % F.S.,材料:铝合金,信号串扰:< 2 %,感应元件:应变片,激励电压:10V max,工作温度 (℃):-18~52
冠一科仪
型号:
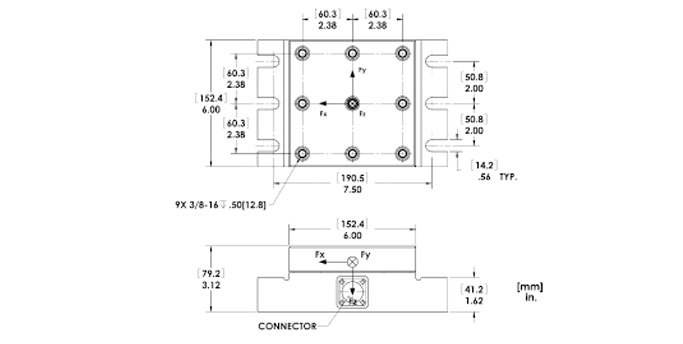
AMTI MC6 六轴力传感器(多维力传感器)。顶部配有螺纹孔和T形槽的法兰安装底座,7075-T6铝合金材质,密封设计,可应用于制造业和测量测试实验室。
尺寸(长x宽x高) 152 x 152 x 84.07 mm
重量 5.91 Kg. 敏感元件 应变片
通道 Fx, Fy, Fz, Mx, My, Mz 放大器 需要
材料 铝合金 模拟输出 6 通道
工作温度 -17.78 to 51.67°C 数字输出 不支持
激励 10V maximum 信号串扰 < 2%
Fx, Fy, Fz 迟滞 ± 0.2%F.S 非线性 Fx, Fy, Fz ± 0.2%F.S
通道 Fx Fy Fz 单位 Mx My Mz 单位
量程 2224 2224 4448 N 339 339 169 N-m
灵敏度 0.674 0.674 0.171 μv/v-N 6.2 6.2 13.28 μv/v-N-m
固有频率 550 550 620 Hz - - - Hz
刚度 (X 105) 210 210 1403 N/m - - - N-m/rad
分辨率 分辨率取决于您所使用的系统,请使用我们的输出系统。
MC6-4448N 量程 2224 2224 4448 N 339 339 169 N-m
MC6-8896N 量程 4448 4448 8896 N 678 678 339 N-m
MC6-17793N 量程 8897 8897 17794 N 1355 1355 678 N-m
尺寸图 [mm]in
冠一科仪
新发布产品